湖南省电子税务局主、附加税申报操作流程说明
一、纳税人登录成功后,在湖南省电子税务局首页点击[我要办税],在其“缴税申报及缴纳”栏目下点击[主、附加税费申报]项,然后在其带出的三个子项目下点击[主、附加税费申报]按钮,进入【在线申报】模块。
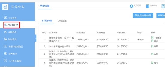
二、点击左侧[纳税申报]按钮,界面同时显示主税与附加税(费)的应申报信息,纳税人可以点击[获取应申报信息]下载或更新最新的应申报信息。纳税人应按照先申报主税,后申报附加税费的顺序进行申报。如果纳税人主税同时存在增值税和消费税,则会带出两种主税及两种主税对应的附加税费的应申报信息。
(一)当纳税人非定期定额户时,带出的应申报信息如下图所示,“本月应申报”信息下附加税费的报表名称为“城建税、教育费附加、地方教育费附加税(费)申报表(增值税)”、“城建税、教育费附加、地方教育费附加税(费)申报表(消费税)”。
(二)当纳税人为定期定额户时,带出的应申报信息如下图所示,“本月应申报”信息下附加税费的报表名称为“定期定额户自行申报-城市维护建设税”、“定期定额户自行申报-教育费附加”“定期定额户自行申报-地方教育费附加”,如果纳税人同时存在增值税、消费税,则会产生6条记录。
三、主税申报
(一)增值税申报
1.申报期内,纳税人点击报表名称为增值税申报表右边的[填写]按钮,进入报表填写窗口。
2.报表填写窗口页面左侧为该套报表包含的申报表名称(根据纳税人信息自动带出相应的表格),点击左侧报表名称列可以进行表单切换,中间为报表填写区域,下方为报表[保存草稿]、[校验并保存]、[获取一表集成数据]的操作按钮。
3.填写数据后,若点击[保存草稿]按钮,系统将对已填写的数据进行保存,但不校验数据的逻辑关系,此时申报表的状态为“草稿”,纳税人可点击[填写]按钮继续填报或修改表单,也可点击[重置]按钮将表单还原为最初的空表状态。
4.若点击[校验并保存]按钮,系统将校验是否存在数据错误,存在错误则将错误栏标红并给出具体提示信息,此时可根据提示信息修改错误项。
5.修改错误数据后,再次点击[校验并保存],系统提示“校验成功,请及时提交申报”。点击[确定]将退出报表填写页面,点击[关闭]将关闭提示信息对话框,继续停留报表填写界面。
6.退出报表填写窗口,报表的状态变为“待申报”,若点击[填写]可继续填报或修改报表;若点击[重置],报表将还原到最初的空表状态;若点击[申报],则弹出提示框“是否需要申报”,点击[确定]按钮完成申报,状态变成“申报成功”,且带出提示框如下图,此为非定期定额户带出的提示框,如纳税人为定期定额户,则提示框不会出现“是否进行附加税(费)的申报”的提示。
(二)消费税申报
1.申报期内,纳税人点击在线申报本月应申报信息下,报表类别为“消费税申报表”右边的[填写]按钮,进入报表填写窗口。
2.后续操作与增值税申报一致。
四、附加税(费)申报
(一)定期定额户
1.纳税人在纳税申报本月应申报界面下,点击“定期定额自行申报-城市维护建设税”、“定期定额自行申报-教育费附加”、“定期定额自行申报-地方教育费附加”后的任一[填写]按钮,系统自动跳转至“定期定额户自行申报”界面。
2.纳税人据实填写后,完成申报。
(二)非定期定额户
1.纳税人在完成主税申报时,会弹出提示“是否进行附加税(费)的申报”,点击[确定]按钮,系统自动跳转至“城建税、教育费附加、地方教育附加税(费)申报表”填写界面。
2.纳税人也可在在线申报本月应申报信息下,点击报表名称为“城建税、教育费附加、地方教育费附加税(费)申报表”后的[填写]按钮,进入附加税(费)填写界面。
3.纳税人点击[获取主税种信息],可以查看主税申报表;[保存草稿]、[校验并保存]按钮与增值税申报一致。
4.纳税人据实填报,“校验并保存”成功后,回到本月应申报界面,状态变成“待申报”。点击[申报],弹出提示“是否需要申报”,选择“是”,完成申报;点击[填写],可以对申报表进行修改;点击[重置],将报表置为空表状态。
五、主税及其附加税全部申报完成后,纳税申报本月应申报界面下的主税及附加税的申报状态均为“申报成功”,纳税人可点击[查看]按钮,查看申报表。
1.纳税人对报送材料的真实性和合法性承担责任。
2.申报成功的表单提供[导出]、[打印]操作。
3.申报成功且未缴税的申报表不能进行修改,如有错误且满足作废条件请在“申报作废”模块进行作废处理后再次进行申报,系统会对上次申报的数据进行保留,作废之后的报表状态为“草稿”,可直接点击[填写]进行修改,或点击[重置],将报表置为空表状态。
4.申报成功且已缴税的申报表提供申报错误更正功能,允许纳税人更正一次。
5.纳税人有如下情形的,在完成主税申报后不能实现附加税(费)联合申报:
(1)附加税(费)没有对应的税费种认定。
(2)主税与对应的附加税(费)税费种认定纳税期限不一致。
6. 如提交的申报表在税务机关进行了更正或作废操作,则纳税人不能再在电子税务局进行更正或作废操作,如有需要请前往税务机关办理。
66游戏网http://66.cdfxiaoke.com/
本文出处:https://www.110109.com/gongsizhuce/106190.html

微信扫一扫