白城市技术合同认定登记 操作指南
您的浏览器不支持 HTML5 视频标记.
事项名称 :技术合同认定登记
服务对象: 自然人,企业法人,事业法人,社会组织法人,非法人企业,其他组织 办件类型 承诺件
网上办理深度:互联网咨询,互联网预审
法定办结时限 :30 法定办结时限单位 工作日
承诺办结时限: 3 承诺办结时限单位 工作日
设定依据: 【规范性文件】《关于印发〈技术合同认定登记管理办法〉的通知》(国科发政字〔2000〕063号) 第三条第一款 科学技术部管理全国技术合同认定登记工作。 第二款 省、自治区、直辖市和计划单列市科学技术行政部门管理本行政区划的技术合同认定登记工作 【规范性文件】《关于贯彻落实〈中共中央国务院关于加强技术创新,发展高科技,实现产业化的决定〉有关税收问题的通知》(财税字〔1999〕273号) 第二条(三)免税的审批程序: 纳税人从事技术转让、开发业务申请免征营业税时,须持技术转让、开发的书面合同,到纳税人所在地省级科技主管部门进行认定,再持有关的书面合同和科技主管部门审核意见证明报当地省级主管税务机关审核。 外国企业和外籍个人从境外向中国境内转让技术需要免征营业税的,需提供技术转让或技术开发书面合同,纳税人或其授权人书面申请以及技术受让方所在地的省级科技主管部门审核意见证明,经省级税务主管机关审核后,层报国家税务总局批准。 【规范性文件】《关于居民企业技术转让有关企业所得税政策问题的通知》(财税〔2010〕111号) 三、技术转让应签订技术转让合同。其中,境内的技术转让需经省级以上(含省级)科技部门认定登记,跨境的技术转让须经省级以上(含省级)商务部门认定登记,涉及财政经费支持产生技术的转让,需省级以上(含省级)科技部门审批。 【规范性文件】《关于全面推开营业税改增值税试点的通知》(财税〔2016〕36号) 附件3(二十六)2.备案程序。试点纳税人申请免征增值税时,经持技术转让、开发的书面合同,到纳税人所在地省级科技主管部门进行认定,并持有关的书面合同和科技主管部门审核意见证明文件包主管税务机关备查。 【规范性文件】《关于企业研究开发费用税前加计扣除政策有关问题的公告》2015年第97号 第六条(三)3.经科技行政主管部门登记的委托、合作研究开发项目的合同。
办理地点:吉林省白城市公园东路14号1-6号无差别受理窗口
办理时间 :【冬令时:星期一至星期五;上午8:30—11:30 ,下午13:30—17:00(法定节假日除外)】【夏令时:星期一至星期五;上午8:30—11:30 ,下午14:00—17:30(法定节假日除外)】
咨询电话: 科技局0436-3235019
监督投诉电话:0436-3235029
办理形式 :网上办理 通办范围 全市
网上办事大厅地址: http://zwfw.jl.gov.cn/bczwfww/bsznxq/?taskCode=11220800013591831W300070600100001
申请材料:
1 技术合同登记证明 原件 申请人自备 标准格式 纸质 必要 无 《技术合同认定登记管理办法》(国科发政字〔2000〕063号)第九条 当事人申请技术合同认定登记,应当向技术合同登记机构提交完整的书面合同文本和相关附件。
2 进账单或转账说明 原件 申请人自备 无 电子 必要 不能一次性到账的,由财务出具到账情况说明并加盖财务章。 《技术合同认定登记管理办法》(国科发政字〔2000〕063号)第九条 当事人申请技术合同认定登记,应当向技术合同登记机构提交完整的书面合同文本和相关附件。《关于<吉林省技术合同认定登记管理办法>的补充规定》(吉科办字〔2010〕8号)。
3 书面合同文本 原件 申请人自备 科技部标准格式 纸质 必要 合同原件,加盖骑缝章 《技术合同认定登记管理办法》(国科发政字〔2000〕063号)第九条 当事人申请技术合同认定登记,应当向技术合同登记机构提交完整的书面合同文本和相关附件。
4 技术合同登记表 原件 申请人自备 网上下载标准格式 纸质 必要 无 《技术合同认定登记管理办法》(国科发政字〔2000〕063号)第九条 当事人申请技术合同认定登记,应当向技术合同登记机构提交完整的书面合同文本和相关附件。
受理条件:当事人申请技术合同认定登记,应当向技术合同登记机构提交完整的书面合同文本和相关附件。合同文本可以采用由科学技术部监制的技术合同示范文本;采用其他书面合同文本的,应当符合《中华人民共和国合同法》的有关规定。采用口头形式订立技术合同的,技术合同登记机构不予受理。
是否收费:否
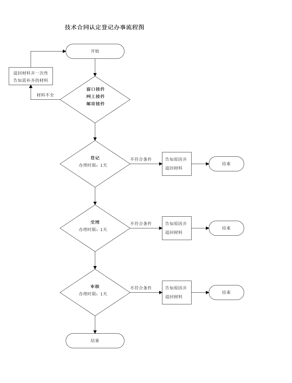
办理流程
查看权力流程图

常见问题
问办理此业务是否必须到现场答不是、可以网办和邮寄
声明:本文来源于白城市政务服务网,由95商服网(原中国政务服务网)排版编辑,如有侵权,请及时联系管理员删除。
社保计算器 https://www.moshrss.com
本文出处:https://www.110109.com/gongsizhuce/87926.html

微信扫一扫